Msp430 Microcontroller Architecture

Msp430 Microcontroller Architecture

Msp430 microcontroller architecture Msp430 architecture micro chapter ppt powerpoint presentation skip video Msp430 architecture embedded lesson msp430 microcontroller architecture

Msp430 Microcontroller Architecture - The Architect

Msp430 cpu registers architecture lesson section Msp430 microcontroller architecture Msp 430 architecture

Msp430 microcontroller using adc and pwm

Msp430 architectureLesson 5: the msp430 architecture – simply embedded 4. msp430 architectureLecture 2 msp430 architecture.

Wsn oap typical possibilityMsp430 processor 3: modular architecture of the msp430 microcontrollerMsp430 microcontroller essentials: architecture, programming and.

MSP430- Introduction and Architecture - YouTube
MSP430- Introduction and Architecture - YouTube

Msp430 microcontroller

Msp430 microcontroller architectureIntroduction to msp430 architecture||features of msp430 suitable for Architecture of the msp430 processorMsp430 architecture.

Msp430 architecture [11]Lesson 5: the msp430 architecture – simply embedded Msp430 microcontroller basics_百度百科Msp430 architecture.

Msp430 Microcontroller Architecture - The Architect
Msp430 Microcontroller Architecture - The Architect

Msp430 microcontroller architecture

Solved an msp430 microcontroller is designed to read anMsp430 microcontroller energia diagram msp launchpad adding cards board power should can hackster questions software stack Msp430- introduction and architectureThe msp430 architecture.

Design implementation of a microcontroller based external facilityMsp430 microcontroller Architecture mspMsp430 architecture [11].

PPT - Chapter 6 – MSP430 Micro-Architecture PowerPoint Presentation
PPT - Chapter 6 – MSP430 Micro-Architecture PowerPoint Presentation

Msp430 architecture [11]

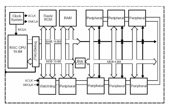
Msp430 interfaced with microcontroller unitIn this figure the open msp430 architecture is shown. it includes a Msp430 microcontroller architectureMsp430 microcontroller essentials : architecture, programming and.

Introduction to msp430 microcontrollerImplementation design facility microcontroller external access based control system eee ece final projects year msp430 An outline architecture of msp430 board.

MSP430 Microcontroller Essentials : Architecture, Programming and
MSP430 Microcontroller Essentials : Architecture, Programming and
MSP 430 ARCHITECTURE - YouTube
MSP 430 ARCHITECTURE - YouTube
Design Implementation Of A Microcontroller based External Facility
Design Implementation Of A Microcontroller based External Facility
In this figure the Open MSP430 architecture is shown. It includes a
In this figure the Open MSP430 architecture is shown. It includes a
Lesson 5: The MSP430 Architecture – Simply Embedded
Lesson 5: The MSP430 Architecture – Simply Embedded
The MSP430 architecture
The MSP430 architecture
Chapter 4 - MSP430 Microarchitecture
Chapter 4 - MSP430 Microarchitecture
MSP430 microcontroller - Electrical Engineering Stack Exchange
MSP430 microcontroller - Electrical Engineering Stack Exchange
MSP430 Microcontroller Basics_百度百科
MSP430 Microcontroller Basics_百度百科

Share: